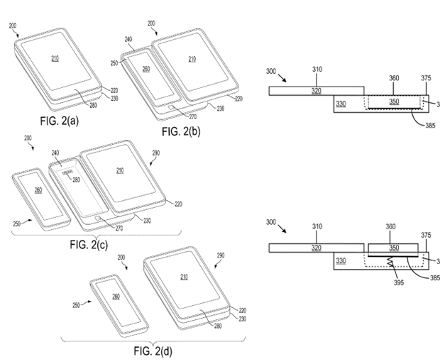
Компания Microsoft подала заявку на патент двухэкранных смартфонов, выполненных в виде раскладушки и слайдера. Дополнительный экран может служить как расширением к главному, так и дополнением к нему — в зависимости от типа выводимого изображения.
Но главной особенностью данного патента является то, что второй экран может отсоединяться от устройства. В этом случае возможности смартфона существенно расширяются. К примеру, при видеозвонке дополнительная часть может быть поднесена к уху, благодаря чему необязательно использовать громкую связь, а основную с камерой пользователь может держать перед собой. Такой же подход может оказаться полезным и при обычном голосовом общении, когда функции смартфона остаются доступны пользователю во время разговора по телефону.
Учитывая, что игровые возможности смартфонов быстро растут, и, по прогнозам, их вычислительная мощь в ближайшие годы превзойдёт современные домашние консоли, компаниям необходимо разработать подходы применения телефонов в качестве стационарных игровых платформ. Концепт Microsoft предлагает подключать базовую часть смартфона к телевизору, а отделяемый экран с гравитационным и другими сенсорами использовать как контроллер.
В конструкции слайдера предусмотрено, что после сдвига верхней крышки не только становится доступен второстепенный экран, но он автоматически поднимается вверх, до уровня основного дисплея. При желании пользовать может отсоединить второй экран для вышеозначенного применения.
Концепт интересен, и он наверняка в той или иной форме будет воплощён в будущих продуктах. Важно то, что кто бы их ни выпустил, ренту получит Microsoft, если за ней будет закреплено право на патент.






0 коммент.:
Отправить комментарий